拼多多店鋪推廣功能現已上線,俗稱拼多多直通車!商家可以通過設置關鍵詞出價和商品出價參與競價排名,在拼多多的類目頻道首頁和搜索結果頁獲得靠前的位置,使商品被更多的買家看到,同時也能為店鋪的其他商品增加展示機會。

一、拼多多店鋪推廣功能介紹
1、店鋪推廣功能簡介
商家配置推廣計劃、設置推廣商品點擊價格和關鍵詞出價后,通過系統綜合計算,獲
得推廣商品的展示機會。通過推廣商品的曝光和點擊,可促進交易轉化,提升店鋪銷
量及交易額。
① 排名規則:綜合排名=商品質量分*廣告出價。其中商品質量分與商品銷量、點擊
率等因素相關。
② 扣費規則:按單次點擊扣費。推薦場景下商品單次點擊按商品點擊價扣費;搜索
(關鍵詞)場景下商品單次點擊按關鍵詞出價扣費。同一個買家對同一個推廣商品
多次點擊只記一次,虛假點擊將被系統過濾,不計扣費。
③ 展示渠道:拼多多手機客戶端(Android,IOS)+拼多多H5商城
④ 展示位置:店鋪推廣的展示分為推薦場景和搜索場景。
推薦場景:首頁類目頻道頁的第二個位置,如下圖

搜索場景:搜索關鍵詞后,展示結果的第1、7、13、19…個位置,如下圖

2、店鋪推廣功能入口
您可以在拼多多后臺管理→店鋪推廣查看:店鋪推廣概況、推廣計劃和推廣數據。

二、拼多多直通車店鋪推廣賬戶充值
您可以在店鋪推廣→推廣概況查看當前推廣賬戶余額、賬戶明細以及進行余額充值
1、推廣賬戶充值
①充值方式為支付寶,充值額度單次最低為500元。
②推廣賬戶余額不支持提現,退店時會和保證金一起退還。
2、推廣賬戶明細
反映了以往店鋪推廣的信息,包含了消耗和充值的明細。新賬戶暫無數據。
①消耗明細:消耗明細記錄了每天賬戶的推廣費用消耗,以及當期的余額。

②充值明細:記錄了每次充值成功的時間、金額,當期余額,以及備注(比如充值方式)。

③充值單記錄:所有充值的記錄(含充值成功、充值中和已撤銷的記錄),包含充值編號、充值金額、到賬金額、時間、狀態、打款人、打款途徑以及打款時間。
其中,未在規定時間1小時內付款的充值,系統將會撤銷,充值記錄狀態為已撤銷。

三.推廣計劃創建流程
1、新建推廣計劃

在賬戶余額大于0的情況下可開始創建推廣計劃,分為以下4個步驟:
(1)創建計劃基本信息
①創建計劃名稱。
②推廣計劃消耗設置。消耗上限默認為不限。為了商戶賬戶安全,單日消耗超過9999
元,系統將自動停止推廣計劃。您也可選擇自定義消耗上限,最低不得小于100元。

注:如當前推廣計劃當日消耗達到日消耗上限,該推廣計劃將自動暫停,第二天自動
重新啟動。您也可以調整推廣日限額使推廣計劃重新上線。
(2)添加商品
①通過列表或者搜索選擇店鋪的商品完成添加。若商品為已下架商品,則無法加入推
廣計劃。至少選擇一樣商品,才能進行下一步。

②填寫商品點擊價格
系統默認1元,您可自定義輸入價格,價格范圍需在0.1—99元之間。

注: 商品點擊價格為推薦場景下的廣告位的點擊付費單價。
(3)添加關鍵詞
根據關鍵詞在拼多多客戶端被用戶搜索的熱度,系統將為該商品推薦最多50個關鍵
詞。您可選擇相應的關鍵詞,并設置關鍵詞出價。支持批量修改出價,所有關鍵詞出
價范圍需在0.1—99元之間。

注:關鍵詞出價是搜索關鍵詞展示結果的點擊付費單價。它與上面②中的推薦場景下
的廣告位是兩種不同的推廣方式,點擊扣費標準有所區別。
(4)發布并確認
此處展示的是已經填寫的推廣計劃的基本信息、商品、商品點擊價、關鍵詞、關鍵詞
出價,您查看信息確認無誤可點擊發布。推廣賬戶余額充足的情況下,點擊發布后系
統將開始推廣。

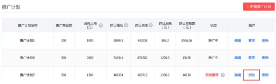
2、推廣計劃的操作
(1)暫停
對于正在實施的推廣計劃可以手動暫停。
若推廣賬戶余額不足或當日消耗達到計劃設置的消耗上限,系統會自動暫停。

(2)啟動
對于手動暫停的推廣計劃可以點擊啟動。
推廣計劃達到今日消耗上限而自動暫停的,如需啟動,請先修改單日消耗上限。修改后該計劃將自動啟動。
推廣計劃因推廣賬戶余額不足而自動暫停的,充值賬戶后,計劃將自動啟動。

(3)編輯
①消耗上限編輯
您可以編輯今日消耗上限的價格,價格需符合發布規范。

②商品點擊價格和關鍵詞出價編輯
您可以編輯推廣計劃的商品點擊價格關鍵詞出價,價格需符合發布規范

③商品和關鍵詞刪除
?刪除商品后該商品將停止推廣。
刪除關鍵詞時選擇該商品下的一個或者多個即可。
注:操作前,請保存其他正在編輯中的推廣商品,這樣才能進行商品和關鍵詞的編輯。

④添加商品
添加商品
通過列表或者搜索選擇商品加入計劃。已下架的商品無法加入推廣計劃。
填寫商品點擊價格。商品默認點擊價格1元,自定義點擊價范圍需在0.1—99元之間。
添加關鍵詞
為添加的每個商品選擇關鍵詞。根據關鍵詞在拼多多客戶端被用戶搜索的熱度,為該
商品最多推薦前50個關鍵詞,您需要選擇相應的關鍵詞,并設置出價。關鍵詞出價支
持批量修改,出價范圍需在0.1—99元之間。
發布并確認
此處展示的是添加商品推廣計劃的基本信息、商品及關鍵詞,您查看信息,確認無誤
可點擊發布。
④無法編輯的商品
每個推廣計劃內的商品數至少為1。如果計劃內商品數量只有1個時,無法直接刪除。
需先添加商品,再刪除當前商品。

四.拼多多店鋪推廣數據
1、您可以在店鋪推廣→推廣數據查詢以往推廣過程中單日的數據,包括日期、曝光次數、點擊次數、訂單數、交易金額、消耗金額。

2、您可以在店鋪推廣→推廣概況查詢昨日匯總。包含總曝光、總點擊、總消耗、交易
訂單數以及交易金額的數據。

您可以分析昨日的店鋪推廣數據,對關鍵詞和出價進行優化調整。
拼多多直通車店鋪推廣相關名詞解釋
曝光次數:推廣商品在廣告位上被買家看到的次數。
點擊次數:推廣產品在廣告位上被買家點擊的次數(虛假點擊將被系統過濾,不計
入總點擊)。
訂單數:推廣商品在廣告位被點擊后買家直接購買該寶貝的訂單數+通過推廣商品的
詳情頁面跳轉至店鋪內其他寶貝并購買的成交筆數。
交易金額:推廣商品在廣告位被點擊后,買家直接購買該寶貝的訂單金額+通過推廣
商品的詳情頁面跳轉至店鋪內其他寶貝并購買的交易金額。
消耗金額:推廣商品在廣告位上被買家點擊后所消耗的金額。
拼多多直通車店鋪推廣Q&A
1、為什么開通了店鋪推廣一直沒有曝光和點擊?
因為綜合排名=商品質量分*廣告出價。其中商品質量分與商品銷量、點擊率等因素相
關。
可能是出價偏低,建議提高廣告競價。
可能是商品的方面的因素,比如商品沒有銷量或者轉化率不理想。
2、為什么曝光很多但交易轉化率上不去?
可能是商品的價格競爭力不足,或者商品圖片,商品詳情頁的描述不夠吸引人。
可能是商品的用戶需求量較小,與網站主流用戶的需求不一致。
3、關鍵詞數比較少或者沒有?
系統推薦的關鍵詞來源于用戶的搜索。如果關鍵詞比較少,說明標題出現的關鍵詞的
搜索量較小,建議修改標題。
4、商家后臺訂單數小于推廣數據中的訂單數?
推廣數據顯示的訂單數指的是支付訂單數,而非成團訂單數,數據有差距說明還有小
部分訂單未成團。
5、為什么根據銷售額推算出的訂單數與推廣數據中的訂單數不符?
推廣數據中的訂單數包括:直接對這個商品的下單數+通過這個商品引導進入店鋪進而
對其他商品的下單數。比如:從推廣的商品和成交額來推算,成交訂單是30單,但推
廣數據統計顯示的是31單。
6、廣告位充值金額是否可以開發票?
廣告充值發票每月可開一次,每個月10號之后可開上個自然月的發票。
7、廣告位費用余額是否退還?
廣告費用余額(不包括紅包),退店時會和保證金一起退還
樂發網超市批發網提供超市貨源信息,超市采購進貨渠道。超市進貨網提供成都食品批發,日用百貨批發信息、微信淘寶網店超市采購信息和超市加盟信息.打造國內超市采購商與批發市場供應廠商搭建網上批發市場平臺,是全國批發市場行業中電子商務權威性網站。
本文來源: 拼多多直通車店鋪推廣功能商家使用攻略


