
一、前言
男裝行業是一個四季分明的行業,它沒有女裝那么多的消費群體,并且淡旺季十分明確。一但在淡季沒有做好分析,數據的保持,老客戶的維護,那么我們就很容易在這段日子中迷失自我,難以翻身。
男裝目前的這個階段處于夏款的銷售一天比一天衰退,而秋款卻還沒有開始起來的空洞時期。所以如何將客戶留住是一個尤為重要的問題。單純的靠自然的站內流量,讓消費者在茫茫人海中發現自己就已經很難了,又是在這個不缺衣服的季節購買的可能性就更小了。而直通車通過關鍵詞搜索展現,把自己的產品淹沒在茫茫同類產品之中;這時曝光全面又可以跳過搜索直接展示到客戶面前的鉆展成為了我們的淡季破局利器。
二、店鋪分析
(1)初入淡季
男裝行業是一個四季分明的行業,它沒有女裝那么多的消費群體,并且淡旺季十分明確。一但在淡季沒有做好分析,數據的保持,老客戶的維護,那么我們就很容易在這段日子中迷失自我,難以翻身。


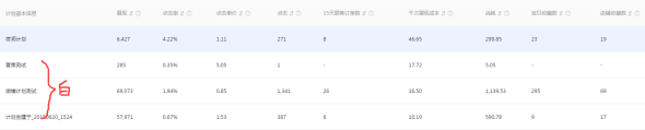
很明顯的發現流量開始下滑,因為主推款是T恤

所以跟著行業走數據下滑的比較快。銷售額開始出現了波動下降,下降的幅度還是比較大的。掌柜雖然有了秋款,但是現在秋款還沒有起來,及時上新也沒有什么實質性的改善,還會在旺季的時候錯過新品期。
(2)改變方向



把預算進行了調整,投放的范圍由原來的僅投放白天轉變為夜間和白天兩個單獨的計劃,全方位的覆蓋一天的流量時間,增加店鋪的全時段曝光,篩選優質地理位置進行有效的地域人群投放


發現點擊單價還是偏高,流量不是太理想,訂單數的量也不是很好。雖然兩個計劃不斷的優化,投產也只不過是1點多。
三、鉆展投放策略轉變
(1)夜間主力拉新
首先對夜間的計劃進行了調整

夜間的定向進行了調整,篩選了目前銷量相近,風格相似的店鋪。主要的目的是為了截取競爭對手的客戶源,對自己店鋪的拉新有著很重要的意義。夜間雖然流量少,但是對于一般預算的客戶還是很充足的,能夠在大家都不在意的時間,有效的宣傳自己的店鋪
素材方面

利用月份做主力素材,制造節日氣氛,讓客戶感覺這個月份是不一樣的(當然圖片要有感覺)

通過一段時間的投放可以看出,點擊花費穩定在0.4毛左右,相比白天時候的點擊花費要低很多,而且收藏非常給力,每天都能帶來許許多多不同的客戶進行寶貝收藏和店鋪。進而能夠不斷的擴充自己店鋪的認知人群,為店鋪不斷的新客戶群體。但通過測試也發現了一些問題,夜間的訪問深度比較高(可能是夜貓子的天性)但是素材用了一段時間之后就會變得點擊單價升高。這時我們就需要去優化素材和我們的活動信息.
(2)白天老客新客并肩進行
白天我們就需要和所有的同行業店鋪進行正面的競爭了,淡季購買人群少所以我們要做的第一點就是要保護好自己的客戶群,俗話說的好客戶是我們的上帝嘛。


首選當然是我們熟知的幾大DMP大標簽,把我們的老客戶穩穩的鎖定住,讓這些客戶群不斷的接受我們的店鋪

其次就是針對性的對幾個流量大一些的相似店鋪進行白天的投放,篩選的時候一定要細致,寧缺毋濫是淡季營銷必須把握好的,不要怕流量少,我們要的就是精準精準再精準的客戶群

到目前為止兩個計劃都比較穩定,每天能夠保持穩定的轉化,帶來穩定的流量,客戶收藏和店鋪收藏,這樣數據保持住,我們再上秋款的時候相信一定能夠更上一層樓。

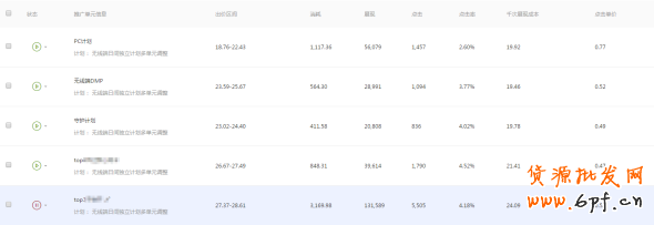
投放后

店鋪銷售額

流量

這樣兩個計劃的進行,能很好的保證我們的客戶群體不會以為大行業的下滑而大幅度的下降,有效的保持了店鋪的穩定發展,當你有一個穩定的流量入口的時候,及時是淡季,也可以保證自己的店鋪穩定的緩步增長。
四、投放總結
1.定向要做精細,越是到了淡季越要仔細的篩選自己的定向,寧缺毋濫,當然也不能圈定過少的人群。
2.素材做到及時更新,打淡季打造成旺季的活動氣氛,讓人感到店鋪的日新月異,更多的關注店鋪。
3.切記淡季一定不要斷了自己付費推廣,要根據自己的店鋪合理分配好預算,本身自然流量大幅下降的情況下,一定不要慌亂,利用好自己手中的付費工具尋找好適合自己的突破口,淡季一樣玩出小高潮。
樂發網超市批發網提供超市貨源信息,超市采購進貨渠道。超市進貨網提供成都食品批發,日用百貨批發信息、微信淘寶網店超市采購信息和超市加盟信息.打造國內超市采購商與批發市場供應廠商搭建網上批發市場平臺,是全國批發市場行業中電子商務權威性網站。
本文來源: 鉆展推動淡季小高潮





